Тренога перегрузочная ТП-250

Тренога перегрузочная ТП-250 предназначена для подъема, удержания, и опускания груза выше или ниже плоскости основания треноги при строительно-монтажных, ремонтных и погрузоч-но-разгрузочных работах в режиме не выше группы режима работы 1М по ГОСТ 25835-83.
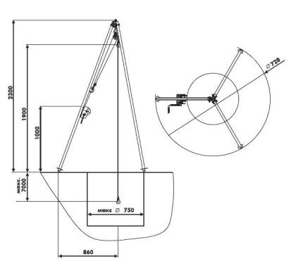
Тренога имеет компактные размеры, что обеспечивает работу в условиях ограниченного пространства.
Может эксплуатироваться как в закрытом помещении, так и на открытом воздухе. Разрешается эксплуатация при температуре окружающей среды не ниже минус 40°С.
ЗАПРЕЩАЕТСЯ применение треноги для перемещения пожаро- и взрывоопасных, ядовитых и едких грузов, транспортировки людей, а также для работ во взрыво- и пожароопасных средах, в помещениях, насыщенных парами кислот, щелочей и других веществ приводящих к коррозии поверхностей металла.

| Техническая характеристика | |
| Грузоподъемность, кг, не более | 250 |
| Группа режима работы по ГОСТ 25835 | 1М |
| Максимальная высота подъема крюка от основания треноги, м | 1,9 |
| Максимальная глубина опускания крюка от основания треноги, м | 7 |
| Допускаемая величина уклона опорной поверхности треноги, не более, град | 5 |
| Масса (с лебедкой), кг, не более | 27 |
(3812) 38-30-32